找回密码
 立即注册
澳门威尼斯人
U8
U18
海燕招商
A
蓝盾
e世博
islot.
申博亚洲
B
开云
腾博会
德信
C级广告商
吉祥坊
华体会
查看: 29566|回复: 63

[彩票] 【实战有奖】澳门威尼斯人 9月22日台彩宾果5单连打,千元资金小亏78元

[复制链接]

50

主题

2万

回帖

5400

金币

千足金牌会员

积分
65943

老会员光影行者

发表于 2025-9-22 16:31 | 显示全部楼层 |阅读模式

马上注册,结交更多好友,享用更多功能,让你轻松玩转社区。

您需要 登录 才可以下载或查看,没有账号?立即注册

×
资金往来和投注流水都放出来,输赢数据一清二楚。虽说整体亏损不大,但过程曲折,值得写个复盘总结,也方便坛友们交流经验。

& p5 z' p# H: E, h9 |0 y
一、资金进出明细
7 d$ u1 w3 \/ j
从账户明细图上可以看到,今天资金主要在 大厅与BBIN彩票 之间来回切换:
1 c! n& A# n0 x' k- u) ^. }6 Z
15:50:从大厅转出 1050.15元 到 BBIN 彩票账户。
$ U/ d8 Y6 K2 f0 G  I+ X
16:23:BBIN 彩票结算后转回大厅 972.15元。

5 D' ^4 V4 w( t6 E; }. x! I* y
换句话说,我拿出1050元作为实战本金,经过一轮下注后,最终回到大厅的资金是972元,整体小亏78元。

! \( ^* u3 i8 T# c0 R
二、投注记录回顾

  ~. u# A& e0 d
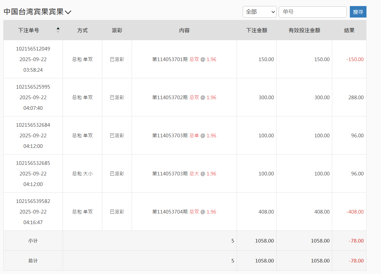
下注明细主要集中在 中国台湾宾果 的单双、大小玩法。时间段是凌晨 3:58 到 4:16,共下了 5 单,总投入 1058 元。
* r) |2 u5 C2 s. D( U* a- N# c6 C
具体如下:
- F5 v6 J8 g) O4 G$ X* P
第114053701期 总双 @1.96
投注150元,结果亏损,-150元。
( s8 I; O0 H0 R# a4 P/ `# |
第114053702期 总双 @1.96
投注300元,中奖派彩288元,等于小赚-12元(实际上赔率稍有差异)。
* ^& r  b2 R, `5 ~) ?, x9 U1 U& L2 L
第114053703期 总单 @1.96
投注100元,派彩96元,小赚-4元。

1 j3 n4 T& ^" {: n
第114053703期 总大 @1.96
投注100元,派彩96元,同样微亏4元。

$ c* ~# ?; e3 q  |
第114053704期 总双 @1.96
投注408元,结果失利,-408元。
7 K. h' ~0 G( _* v
小结:
1 w5 O2 O/ |2 _4 T) {7 r" w
总下注额 1058元
4 a5 I: I' {: ]& ]2 L4 O1 ^, i
总结果 -78元

, m* e) P7 [. b
有效投注 1058元

' M7 x) b6 O4 s+ u1 T" q+ c
虽然看似金额不大,但起伏明显,尤其最后一单408元的重注,直接把前面几手的努力全部打掉。
9 v7 l% W& A; [! e6 s* J& x
三、实战中的问题

' \" F# `3 S$ n0 R8 `; e1 @
开局方向不稳
第一手就150元押“双”,结果直接亏,导致后续心态偏急。

/ ]- _, R8 ^/ h
加注策略混乱
第五手突然加到408元,这其实就是想一把翻本,结果正好遇上失利,亏损被放大。
+ c, _5 ~8 D+ a# r) t
赔率差异小
宾果的单双/大小,赔率都在1.96上下,长期拼下来很容易被水钱吃掉。今天虽然有几单“中”,但派彩比下注额略低,看起来是赢,其实也是亏。
: ?! Z- [; b4 L7 u2 f
四、经验总结
  s/ h4 _2 s5 |
不要冲动加注
今天最致命的就是最后一手408元。前面都是百元级别,突然放大到四百,结果输了直接吃掉全部利润,得不偿失。

% o! P& _% i: b3 B9 {1 e
合理规划资金
1050元本金,本可以拆分成十几手小注慢慢打,把波动摊平。但因为急于回血,结果越陷越深。
  j7 K  A, T  |0 j8 R/ w
赔率细节要注意
1.96看似接近2,其实长期下来是巨大的差别。如果打法不精准,边际损失会被放大。

1 b& L7 y4 B0 L
控制节奏
今天的下注时间都集中在20分钟内,连下5手,几乎没停顿。其实完全可以隔几期观察走势,而不是短时间硬刚。
  z' v: S4 }/ u& V7 c; {" G1 C" e) ~8 S
五、结语

0 y( ~+ I9 E1 f
这次实战虽然只亏了78元,但过程暴露了很多问题:冲动、乱加注、没设止损。要不是最后一手重注失利,今天其实还能保本。
: x9 [, r0 y: S! X
以后计划改进打法:
. g4 e% f" N3 s8 q; t1 X; W
每手控制在100-200元,不随意放大;

( I: P3 P, H/ A) _7 @0 `, g6 \& H
设置止损点,比如亏损超过300元就收手;

4 K. Q6 y# G, S4 c6 ]; A# g) y
拉长观察时间,不必每期都上。
5 m' t: o0 g' h( J4 r
兄弟们,你们在玩台湾宾果的时候,一般是倍投翻身,还是小注慢磨?欢迎在楼下交流思路,互相借鉴下经验。
QQ20250922-162509.png QQ20250922-162336.png

! x6 _' g4 q6 ^7 q, ]6 y5 V' `
回复

使用道具 举报

25

主题

6440

回帖

1153

金币

金牌会员

积分
20671

老会员光影行者

发表于 2025-9-22 16:54 | 显示全部楼层
运气很一般呀,大注码没有中奖成功,确实非常可惜的
回复 支持 反对

使用道具 举报

334

主题

1531

回帖

4827

金币

银牌会员

积分
13626

老会员交易勋章

发表于 2025-9-22 22:03 | 显示全部楼层
好在输的不多 慢慢积累经验 争取一次赢个大的啊!
回复 支持 反对

使用道具 举报

58

主题

4万

回帖

1524

金币

钻石用户

积分
122285

万时之王老会员勤奋勋章交易勋章光影行者

发表于 2025-9-23 06:41 | 显示全部楼层
遗憾的结果了,也是没有办法了,亏损了一天的 伙食费也是很无奈的了难搞的!
回复 支持 反对

使用道具 举报

58

主题

4万

回帖

1524

金币

钻石用户

积分
122285

万时之王老会员勤奋勋章交易勋章光影行者

发表于 2025-9-23 06:41 | 显示全部楼层
sq1188 发表于 2025-9-22 22:034 l4 q( D3 F1 U. Z9 [0 P, a
好在输的不多 慢慢积累经验 争取一次赢个大的啊!

; Z2 y8 {7 U9 T+ N2 z8 I* f确实是,慢慢的来,总会有盈利的时候了,一定要好好的把握一下加油多赚钱吧!
回复 支持 反对

使用道具 举报

58

主题

4万

回帖

1524

金币

钻石用户

积分
122285

万时之王老会员勤奋勋章交易勋章光影行者

发表于 2025-9-23 06:41 | 显示全部楼层
决战夕阳 发表于 2025-9-22 16:546 ~$ y& t7 a. g2 ^0 x0 R" Q
运气很一般呀,大注码没有中奖成功,确实非常可惜的

* w7 W" ~* F9 Z3 u0 D  p' r1 H确实是可惜了 ,也是没有办法了,所以太需要有个好运气的啊!
回复 支持 反对

使用道具 举报

1834

主题

5万

回帖

4273

金币

钻石用户

积分
175311

万时之王老会员勤奋勋章交易勋章

发表于 2025-9-23 07:25 | 显示全部楼层
决战夕阳 发表于 2025-9-22 16:54; c; ?: G8 a) ^0 @8 |! D4 i
运气很一般呀,大注码没有中奖成功,确实非常可惜的
2 J; a5 P2 J" S, p9 {4 `
这个结果是真的比较可惜的希望下一次是能够赢回来的吧$ A* \0 A! G6 ?3 Y! m3 ~9 Y
回复 支持 反对

使用道具 举报

1834

主题

5万

回帖

4273

金币

钻石用户

积分
175311

万时之王老会员勤奋勋章交易勋章

发表于 2025-9-23 07:25 | 显示全部楼层
奔四 发表于 2025-9-23 06:41
7 \0 _: p7 {( _" b. R确实是可惜了 ,也是没有办法了,所以太需要有个好运气的啊!
, j: ]7 u; b6 q+ l) U: V
这个没有运气当然是不行的了运气不好一点办法都没有
3 |) E. @. E$ C+ b
回复 支持 反对

使用道具 举报

1834

主题

5万

回帖

4273

金币

钻石用户

积分
175311

万时之王老会员勤奋勋章交易勋章

发表于 2025-9-23 07:25 | 显示全部楼层
这样的损失也是真的比较遗憾的希望下次能够打回来吧
) \& v4 U5 u% v8 F" N
回复 支持 1 反对 0

使用道具 举报

2288

主题

7万

回帖

9101

金币

海燕硕士

积分
219009

老会员超级精华精华勋章美女勋章勤奋勋章交易勋章万时之王

发表于 2025-9-23 07:27 | 显示全部楼层
亏损了几十块钱也是因为运气不好我也能理解你的心情
回复 支持 反对

使用道具 举报

2288

主题

7万

回帖

9101

金币

海燕硕士

积分
219009

老会员超级精华精华勋章美女勋章勤奋勋章交易勋章万时之王

发表于 2025-9-23 07:28 | 显示全部楼层
yb454553 发表于 2025-9-23 07:25# x: Y$ `: i! w% P; l4 @# F* w2 h
这样的损失也是真的比较遗憾的希望下次能够打回来吧

1 {2 A5 b3 L1 Z' Y这个损失已经出现了,也是自己的一个原因,不好玩的呀
回复 支持 反对

使用道具 举报

2288

主题

7万

回帖

9101

金币

海燕硕士

积分
219009

老会员超级精华精华勋章美女勋章勤奋勋章交易勋章万时之王

发表于 2025-9-23 07:28 | 显示全部楼层
yb454553 发表于 2025-9-23 07:25
0 x) e% f  l8 ]' ^5 v4 i! ?0 b这个没有运气当然是不行的了运气不好一点办法都没有
. O" G! ^+ o; p9 c$ I
运气不行就不要玩,不然亏损的也是自己吧
回复 支持 反对

使用道具 举报

2288

主题

7万

回帖

9101

金币

海燕硕士

积分
219009

老会员超级精华精华勋章美女勋章勤奋勋章交易勋章万时之王

发表于 2025-9-23 07:28 | 显示全部楼层
奔四 发表于 2025-9-23 06:41
) a2 _; i: I( [确实是可惜了 ,也是没有办法了,所以太需要有个好运气的啊!
( j& i9 d0 _" y$ o
这样子可惜的话就不要玩了,输的多了也是难受
回复 支持 反对

使用道具 举报

2288

主题

7万

回帖

9101

金币

海燕硕士

积分
219009

老会员超级精华精华勋章美女勋章勤奋勋章交易勋章万时之王

发表于 2025-9-23 07:28 | 显示全部楼层
奔四 发表于 2025-9-23 06:41
6 L! N/ p0 k. a0 U! P& Z确实是,慢慢的来,总会有盈利的时候了,一定要好好的把握一下加油多赚钱吧!  ...
, w. ]  Z6 V4 V! }8 ]
问题是不知道什么时候盈利,也只是自己的一个猜测
回复 支持 反对

使用道具 举报

2288

主题

7万

回帖

9101

金币

海燕硕士

积分
219009

老会员超级精华精华勋章美女勋章勤奋勋章交易勋章万时之王

发表于 2025-9-23 07:28 | 显示全部楼层
sq1188 发表于 2025-9-22 22:03
& V2 Y. j- q& l* L* g2 ~2 h  o8 Y" B' v好在输的不多 慢慢积累经验 争取一次赢个大的啊!
; l% ~* O3 B; ~0 X
输的不多,就当是一个教训吧,每次我还是小心一点
回复 支持 1 反对 0

使用道具 举报

您需要登录后才可以回帖 登录 | 立即注册

本版积分规则

广告合作|评测有奖|福利汇|论坛简介|钱包合集|手机版|小黑屋|Archiver|海燕论坛

快速回复 返回顶部 返回列表