找回密码
 立即注册
澳门威尼斯人
U8
U18
海燕招商
A
蓝盾
e世博
islot.
申博亚洲
澳门银河
B
开云
腾博会
德信
C级广告商
吉祥坊
华体会
查看: 955|回复: 89

[彩票] 比特彩票走势不定艰难收904元

[复制链接]

59

主题

2694

回帖

2058

金币

银牌会员

积分
10855

老会员

发表于 2026-2-28 19:42 | 显示全部楼层 |阅读模式

马上注册,结交更多好友,享用更多功能,让你轻松玩转社区。

您需要 登录 才可以下载或查看,没有账号?立即注册

×
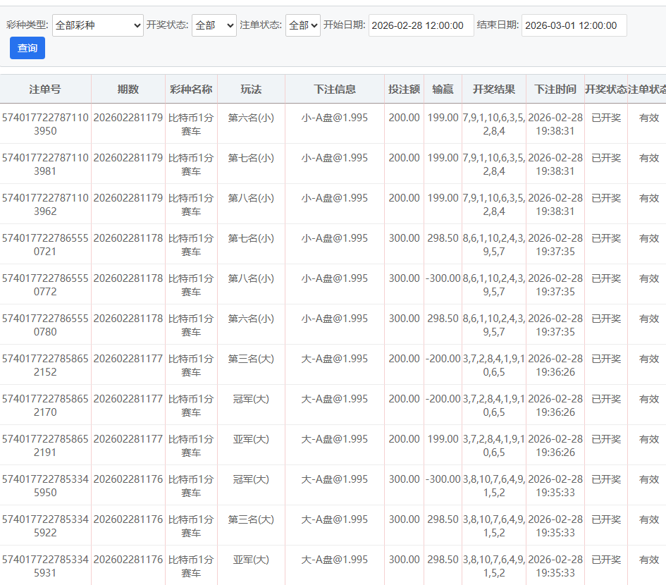
晚上继续着 70-150-200-300-500的战略彩票下注 三定位两面玩法,输了一直往上推到500赢后则从赢时的注码往下推到最低70的位置,投注9000多才收904元;
, C; o+ i. o/ c6 N- ^6 t3 O4 A' x8 ?  ^# u2 Q

" _3 V( W' v: Z- Q 2.png 3.png 1.png # |6 l! c& f: L# c! m

评分

参与人数 1金币 +8 收起 理由
海燕RG + 8 实战分享

查看全部评分

回复

使用道具 举报

3413

主题

2万

回帖

1万

金币

版主

积分
91253

优秀版主老会员版主勋章超级精华

发表于 2026-2-28 19:50 | 显示全部楼层
主要还是要看胜率,否则很难扛得住了
回复 支持 反对

使用道具 举报

210

主题

1万

回帖

1561

金币

千足金牌会员

积分
43242

老会员

发表于 2026-2-28 20:13 | 显示全部楼层
这次幸运的,下次就得要再稳点才行呀
回复 支持 反对

使用道具 举报

1454

主题

1万

回帖

1万

金币

千足金牌会员

积分
52591

老会员财富勋章精华勋章交易勋章热心会员魅力达人

发表于 2026-2-28 20:29 | 显示全部楼层
这样的盈利已经很不错了
回复 支持 反对

使用道具 举报

7

主题

2万

回帖

1万

金币

铂金用户

积分
78690

光影行者

发表于 2026-2-28 20:36 | 显示全部楼层
这节奏太折磨人了,推注推到500才回血,9000砸下去就捞900多,心疼钱包
回复 支持 反对

使用道具 举报

7

主题

2万

回帖

1万

金币

铂金用户

积分
78690

光影行者

发表于 2026-2-28 20:36 | 显示全部楼层
笑看人生 发表于 2026-2-28 20:29
4 R  B  f: j8 c8 ?( `& I这样的盈利已经很不错了

7 f- R! l* Q$ E# Y& Y6 b9 \) E2 F' v能稳住900+已经算硬核了,这走势能抠出来真不容易
回复 支持 反对

使用道具 举报

7

主题

2万

回帖

1万

金币

铂金用户

积分
78690

光影行者

发表于 2026-2-28 20:36 | 显示全部楼层
hy188820 发表于 2026-2-28 20:13
$ T+ Y1 n) A) f- k+ Q这次幸运的,下次就得要再稳点才行呀
, X. l" y$ q5 m) h% P+ k
走势飘忽确实难搞,稳着来才能细水长流,下次别急着冲
回复 支持 反对

使用道具 举报

618

主题

1万

回帖

5124

金币

金牌会员

积分
39266

老会员

发表于 2026-2-28 23:27 | 显示全部楼层
如此丰厚的回报令人赞叹,这是楼主的实力
回复 支持 反对

使用道具 举报

618

主题

1万

回帖

5124

金币

金牌会员

积分
39266

老会员

发表于 2026-2-28 23:28 | 显示全部楼层
蔬菜沙拉 发表于 2026-2-28 20:36) Y" i' V( x/ T7 S" I
走势飘忽确实难搞,稳着来才能细水长流,下次别急着冲
: S$ T; [( d" ]5 Z' p
7 C# ^- c4 \6 c, @  H
能长期保持盈利状态就实属难得
回复 支持 反对

使用道具 举报

2

主题

8390

回帖

9044

金币

千足金牌会员

积分
42756
发表于 2026-3-1 02:25 | 显示全部楼层
这推注玩法投九千多才收九百出头,走势不定真够磨人的,这收益和投入比看着也挺闹心
回复 支持 反对

使用道具 举报

2

主题

8390

回帖

9044

金币

千足金牌会员

积分
42756
发表于 2026-3-1 02:26 | 显示全部楼层
一路前行 发表于 2026-2-28 23:28! Y* d7 {0 |8 B$ Q8 \) i* E
能长期保持盈利状态就实属难得
6 h: L, r; i" ?" l1 a0 j
走势那么飘能长期稳着赚真不容易,这次收904也算是熬过来了,别贪稳着来就好
回复 支持 反对

使用道具 举报

1571

主题

8万

回帖

2万

金币

海燕硕士

积分
255558

万时之王老会员精华勋章勤奋勋章交易勋章光影行者

发表于 2026-3-1 05:37 | 显示全部楼层
可以赢这么多钱也是非常厉害的了。
回复 支持 1 反对 0

使用道具 举报

1571

主题

8万

回帖

2万

金币

海燕硕士

积分
255558

万时之王老会员精华勋章勤奋勋章交易勋章光影行者

发表于 2026-3-1 05:37 | 显示全部楼层
蔬菜沙拉 发表于 2026-2-28 20:36, ]- ~2 ^$ k" o' p. L% k
走势飘忽确实难搞,稳着来才能细水长流,下次别急着冲
  k% A: p3 M3 k
希望是可以能够保持住这样的好运气吧
回复 支持 反对

使用道具 举报

1571

主题

8万

回帖

2万

金币

海燕硕士

积分
255558

万时之王老会员精华勋章勤奋勋章交易勋章光影行者

发表于 2026-3-1 05:37 | 显示全部楼层
一路前行 发表于 2026-2-28 23:27
) e) w5 p' M3 w  }如此丰厚的回报令人赞叹,这是楼主的实力

) I. ~9 o! L$ [9 ]楼主确实是非常有实力的玩家了呢。
回复 支持 反对

使用道具 举报

1571

主题

8万

回帖

2万

金币

海燕硕士

积分
255558

万时之王老会员精华勋章勤奋勋章交易勋章光影行者

发表于 2026-3-1 05:37 | 显示全部楼层
一路前行 发表于 2026-2-28 23:28
4 \) I$ O" z. P8 V* W9 ]" T能长期保持盈利状态就实属难得

9 H& ?0 c; o! f* K' t这个确实是非常难得的事情了呢。
回复 支持 反对

使用道具 举报

您需要登录后才可以回帖 登录 | 立即注册

本版积分规则

广告合作|福利汇|论坛简介|钱包教程|手机版|小黑屋|Archiver|海燕论坛

快速回复 返回顶部 返回列表