找回密码
 立即注册
澳门威尼斯人
U8
U18
海燕招商
A
蓝盾
e世博
islot.
申博亚洲
澳门银河
B
腾博会
德信
C级广告商
吉祥坊
查看: 149558|回复: 50

[真人] 九五 百家乐

[复制链接]

1

主题

2

回帖

0

金币

新手上路

积分
3
发表于 2024-5-29 16:39 | 显示全部楼层 |阅读模式

马上注册,结交更多好友,享用更多功能,让你轻松玩转社区。

您需要 登录 才可以下载或查看,没有账号?立即注册

×
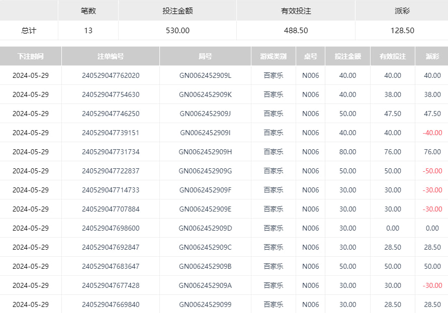
九五之尊信誉可以的。可放心投注。每天一百多就够了。不上头
photo_2024-05-29_16-38-05.jpg
photo_2024-05-29_16-38-10.jpg
回复

使用道具 举报

1万

主题

3322

回帖

8388

金币

版主

积分
44186

美女勋章优秀版主老会员版主勋章超级精华

发表于 2024-5-29 16:44 | 显示全部楼层
楼主心态是真好,能稳定到控制自己投注多少,给你的做法点赞
回复 支持 反对

使用道具 举报

252

主题

1万

回帖

2006

金币

金牌会员

积分
33062

老会员

发表于 2024-5-29 16:52 | 显示全部楼层
楼主的这个运气还是很不错的,希望以后都能够有个好的结果了。
回复 支持 反对

使用道具 举报

162

主题

1万

回帖

242

金币

金牌会员

积分
21624

老会员交易勋章魅力达人

发表于 2024-5-29 17:05 来自手机 | 显示全部楼层
楼主对自己的小目标随时调整也是相当满意啊,继续赢利奥。
回复 支持 反对

使用道具 举报

2670

主题

5万

回帖

3183

金币

钻石用户

积分
172378

万时之王老会员精华勋章勤奋勋章交易勋章

发表于 2024-5-29 17:06 来自手机 | 显示全部楼层
盈利了100多块钱挺好的了,玩得很好,继续加油多多赢钱
回复 支持 反对

使用道具 举报

2670

主题

5万

回帖

3183

金币

钻石用户

积分
172378

万时之王老会员精华勋章勤奋勋章交易勋章

发表于 2024-5-29 17:07 来自手机 | 显示全部楼层
海燕飞扬 发表于 2024-5-29 16:44
! H6 a2 c) E6 j: A* R楼主心态是真好,能稳定到控制自己投注多少,给你的做法点赞

" L2 w: Q& c) R) V, q楼主玩百家乐是比较稳的了,能够做到及时止盈,说明心态和控制力很好
回复 支持 反对

使用道具 举报

2670

主题

5万

回帖

3183

金币

钻石用户

积分
172378

万时之王老会员精华勋章勤奋勋章交易勋章

发表于 2024-5-29 17:08 来自手机 | 显示全部楼层
12358 发表于 2024-5-29 17:05
( P( B4 u- \* F" o# G+ r# ?楼主对自己的小目标随时调整也是相当满意啊,继续赢利奥。

8 q7 h4 L, Z: L$ o  I% {运气不错的,有了盈利见好就收了,不贪心很好的心态
回复 支持 反对

使用道具 举报

1410

主题

5万

回帖

2163

金币

钻石用户

积分
142705

万时之王老会员勤奋勋章交易勋章

发表于 2024-5-29 17:39 | 显示全部楼层
九五之尊信誉是没问题的 ,楼主也是比较有数的 落袋为安最好了
回复 支持 反对

使用道具 举报

1637

主题

8万

回帖

2万

金币

海燕硕士

积分
260003

万时之王老会员精华勋章勤奋勋章交易勋章光影行者

发表于 2024-5-29 18:11 | 显示全部楼层
还是要祝贺一下楼主的,每天都能够这样的赚钱就爽了
回复 支持 反对

使用道具 举报

1637

主题

8万

回帖

2万

金币

海燕硕士

积分
260003

万时之王老会员精华勋章勤奋勋章交易勋章光影行者

发表于 2024-5-29 18:12 | 显示全部楼层
浴火凤凰 发表于 2024-5-29 17:08
( ~& ]- [9 H5 `) w* F运气不错的,有了盈利见好就收了,不贪心很好的心态

  s% W1 c* V" f5 }1 o这个还是要做到见好就收的,这样才能赢更多的钱呢
回复 支持 反对

使用道具 举报

3942

主题

8万

回帖

8398

金币

海燕硕士

积分
243554

万时之王老会员精华勋章勤奋勋章

发表于 2024-5-29 18:33 | 显示全部楼层
这一次还是轻轻松松的盈利了这么多果然还是把握的挺好的
回复 支持 反对

使用道具 举报

3942

主题

8万

回帖

8398

金币

海燕硕士

积分
243554

万时之王老会员精华勋章勤奋勋章

发表于 2024-5-29 18:33 | 显示全部楼层
allin 发表于 2024-5-29 17:39- w' [: c( I: u# N* r# \
九五之尊信誉是没问题的 ,楼主也是比较有数的 落袋为安最好了

6 O% q- D) X7 @, @) \这家公司玩起来确实一点问题都没有,每天都要支持搞一搞
回复 支持 反对

使用道具 举报

3942

主题

8万

回帖

8398

金币

海燕硕士

积分
243554

万时之王老会员精华勋章勤奋勋章

发表于 2024-5-29 18:33 | 显示全部楼层
cwx1994 发表于 2024-5-29 18:119 w8 q9 n; O/ v; i2 s) j5 E
还是要祝贺一下楼主的,每天都能够这样的赚钱就爽了
* W3 e* Q. m" N4 z/ {. H; G* x
反正还是希望能够多赚点钱的,有的时候也不要太担心
回复 支持 反对

使用道具 举报

205

主题

7329

回帖

1600

金币

银牌会员

积分
17956

老会员光影行者

发表于 2024-5-29 18:40 | 显示全部楼层
标题该弄好一点了,这样是不太行的哦,很难看明白了
回复 支持 反对

使用道具 举报

2568

主题

8万

回帖

3009

金币

海燕硕士

积分
228459

老会员超级精华精华勋章美女勋章勤奋勋章交易勋章万时之王

发表于 2024-5-29 19:13 | 显示全部楼层
我每天也是来这里玩的呀,信誉当然是没有问题的呀,问题是要有盈利呀
回复 支持 反对

使用道具 举报

您需要登录后才可以回帖 登录 | 立即注册

本版积分规则

广告合作|福利汇|论坛简介|钱包教程|手机版|小黑屋|Archiver|海燕论坛

快速回复 返回顶部 返回列表